З 1894 року свою історію починають три великі підприємства Львова – ПрАТ «Львівобленерго», ЛКП «Львівелектротранс» та ЛКП «Львівтеплоенерго». Відправною точкою їх розвитку є відкриття у Львові першої електростанції постійного струму, яка мала забезпечити рух львівського електричного трамвая, який мали запустити під час відкриття «Галицької крайової виставки» влітку 1894 року.

Її будівництво розпочали у 1893 році на території трамвайного депо, яке зараз має адресу вул. Вітовського, 57. Це місце, поряд із Пелчинським ставом, обрали для забезпечення водою парогенераторів планували від потічка Вулька, який колись тут протікав.

Епоха промислового електропостачання у Львові розпочалася 22 лютого 1894 році, коли на «трамвайній» електростанції було змонтовано два парогенератори потужністю по 200 кінських сил (біля 300 кВт). Невдовзі парогенератори електростанції дали перший струм. Електростанцію, як і електричний трамвай будував віденський філіал фірми братів Сімменсів – «Сімменс і Гальске».

До цього, за словами дослідника історії електрифікації Андрія Крижанівського, у Львові в деяких будинках уже було електричне освітлення – для цього використовувалися невеликі будинкові електростанції із двигунами внутрішнього згоряння або паровими… Перша згадка про застосування електричного освітлення у Львові датується 1881 роком. Тоді львівський винахідник Францішек Рихновський (відомий також як фотограф) виконав систему електричного освітлення у Галицькому Сеймі.

У 1896 року, відповідно до договору із фірмою «Сімменс і Гальске», електричний трамвай та електростанція були викуплені муніципалітетом Львова. Комунальне підприємство «Міські заклади електричні» очолив Йозеф Томицький – видатний електротехнік свого часу, який народився у Білій Церкві під Києвом. Йозеф отримав ґрунтовну освіту в технічних університетах Карлсруе та Бонна. До Львова він працював на будівництві залізниці Відень – Баден-Баден, а також метрополітену Будапешта. Йозеф Томицький є «батьком» не лише львівського трамвая, але і енергосистеми Львівщини. Підприємством він керував майже 30 років, до самої своєї смерті у 1925 році. На початку 1930-х його прізвищем назвали нижню частину вулиці Коперника – від Бандери до Вітовського.

Перші шість років, із 1894 по 1900 рік, монопольним споживачем львівської електростанції був трамвай. Окрім нього, електростанція живила лише шість дугових ламп, які освітлювали ковзанку на Пелчинському ставі. Лише 1900 року було прийнято «політичне» рішення про застосування електричного освітлення в Львівській Опері. За проектом Йозефа Томицького від електростанції на Вульці до Опери було прокладено підземну кабельну лінію. В підвалі Опери розмістили величезну акумуляторну батарею, яка виконувала одразу дві функції – забезпечення стабільного електропостачання, а також забезпечення освітлення будинків напругою в 220 В, адже трамвай живився напругою в 600 В.

Повернемося ж до трамвая. З метою захисту від коротких замикань та перевантажень, контактна мережа трамвая була розділена на кілька електрично-ізольованих секцій, до кожної із яких була прокладена своя кабельна лінія. Напруга додатного потенціалу подавалася на контактний дріт, а від’ємного – на рейкове полотно.

Уже на початку 1900-х років стало зрозуміло, що кінний трамвай – це анахронізм. Місто розросталося і потребувало надійного транспорту. Отож, директор «Міських закладів електричних» Йозеф Томицький розробив проект розбудови трамвайних ліній Львова, який включав не лише електрифікацію ліній кінки, але й будову нових трамвайних ліній на Клепарів, Замарстинів, Персенківку…

Розбудова трамвайного господарства та потреба в електричному освітленні вимагала збільшення потужності міської електростанції. Йозеф Томицький розумів, що подальший розвиток електростанції постійного струму – це шлях тупиковий, в тому числі через проблематичність зміни напруги постійного струму. Разом із ректором Львівської Політехніки Романом Дзеслевским, директор львівського трамвая розробив проект будівництва у Львові потужної електростанції змінного струму.

За попереднім проектом міська електростанція Львова мала розташуватися в районі Левандівки біля залізничних колій «Львів – Мостиська». До неї мали прокласти трамвайну лінію. Але згодом проект було скориговано і місце для електростанції було обрано на Персенківці. Проектування і будівництво нової електростанції було розпочато у 1907 році, паралельно із розширенням трамвайної мережі.

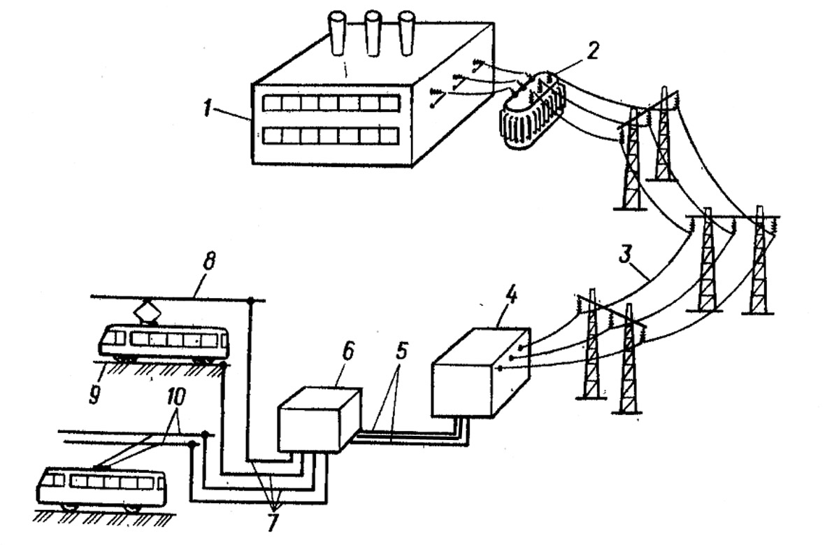
Тут маємо розповісти, як здійснюється електропостачання трамвайних і тролейбусних ліній. Використаємо для цього спрощену схему. Струм генерується електростанцією 1, далі за допомогою підвищувального трансформатора 2 напруга підвищується до рівня 110 кВ (для того, щоб мінімізувати втрати у мережі), а далі передається лініями електропередач 3. На розподільчій підстанції 4 електричний струм іще раз трансформується і по кабельним лініям 5 до тягової підстанції електротранспорту 6 тече трифазний струм напругою 6,3 кВ. На тяговій електростанції електротранспорту 6 встановлені понижуючі трансформатори та випрямні агрегати, які забезпечують живлення трамвая і тролейбуса напругою 600 В через контактні мережі 8 і 10, рейки 9 та підземні кабельні мережі 7.

У 1909 році нова електростанція змінного струму почала виробляти електричну енергію. До речі, функціонує вона і донині – це Львівська ТЕЦ-1. Модернізації зазнало і електропостачання трамвая. Від електростанції на Персенківці до депо на Вульці проклали підземну трифазну кабельну лінію. По ній передавався електричний струм напругою 5000 В. Перша електростанція була перетворена у тягову підстанцію трамвая – замість парогенераторів електричні генератори постійного струму крутили потужні електродвигуни змінного струму, які і виробляли необхідний для трамвая струм напругою 600 В. Деякий час парогенератори тримали в ролі резервних приводів, але під час Першої світової їх демонтували. Що цікаво, стара кабельна лінія між ЛТЕЦ-1 та тяговою підстанцією № 1 «Львівелектротрансу» пропрацювала майже 100 років – дві нові кабельні лінії (основну і резервну) проклали аж у 2003 році.

Одночасно із будівництвом нових трамвайних ліній прокладали нові кабельні лінії живлення. Нові кабельні виводи розташувалися на сучасних вулицях Городоцькій, Шевченка, Бандери, Мельника… До речі, частина кабельних мереж, прокладених іще у 1908 року працює і сьогодні, ось уже 110 років забезпечуючи живлення львівського трамвая. А загалом досі діє біля 30 км. кабельних мереж, прокладених іще до 1939 року…

У 1920-х роках, коли мережа львівського трамвая іще більш зросла, стало зрозуміло, що однієї тягової підстанції замало. Тут було дві причини – по-перше в одному місці зосереджувалося дуже багато перетворювальних агрегатів, а з другого – із збільшенням інтенсивності руху трамваїв, а також із віддаленням їх ліній від підстанції зростали непродуктивні втрати енергії.
Саме тому на Підзамчі, на розі вул. Під Дубом та Замарстинівської у 1924 році було споруджено нову тягову підстанцію, яка нині має № 2. Ця підстанція забезпечувала живлення трамвая на Підзамчі і Замарстинові, а також неіснуючої нині трамвайної лінії по вулиці Куліша. Нині вона живить також тролейбусну лінію маршруту № 13 на проспектах Свободи та Чорновола.

Ця тягова підстанція була обладнана найсучаснішим на той час обладнанням фірми «Браун і Бовері» – масляними силовими трансформаторами та ртутними випрямлячами (ігнітронами).
Розповімо нашим читачам кілька слів про те, що таке ртутний випрямляч. Це була герметична посудина, в якій підтримувався низький тиск, близький до технічного вакууму – 0,13 – 0,2 Па. В середині посудини розташовувалися аноди (один чи кілька) і ртутний катод. «Випрямлення» струму ґрунтувалося на тому, що у випадку прикладання до анода додатного потенціалу, а до катода – від’ємного, через надзвичайно розріджені пари ртуті проходила електрична дуга. Якщо ж до анода прикласти від’ємний потенціал, а до катода – додатній, дуга не виникне. Власне за рахунок оцієї «перемінної» дуги і здійснювалося «випрямлення» струму.

У перших ртутних випрямлячах вакуум створювався шляхом постійної відкачки повітря (і парів ртуті) із камери випрямляча. З часом було створено повністю герметичні випрямлячі, де із посудини повітря викачувалося іще на заводі. Вони також були обладнані керуючими електродами (сітками), які дозволяли регулювати напругу випрямленого струму, але не дивлячись на всі заходи безпеки і удосконалення ртутні випрямлячі залишалися доволі небезпечним типом обладнання. Використовували ртутні випрямлячі до початку 1970-х років.
До середини 1930-х років трамвайне та електричне господарство були об’єднані у одне підприємство. Але навіть і після «розлучення», яке сталося у 1936 році, офіси цих компаній розташовувалися поруч. Дирекція Львівського трамвая містилася в будинку № 2 по сучасній вулиці Сахарова, а дирекція «Міських закладів електричних» – в сучасному будинку СБУ на вулиці Вітовського, 55. Спорудили його за проектом архітекторів Тадеуша Врубеля та Леопольда Карасинського.

Потреба у подальшому розвитку енергогосподарства виникла на початку 1950-х років у зв’язку із появою нового виду електротранспорту – тролейбуса. Третя тягова підстанція розмістилася на території трамвайного депо № 1. Вона забезпечила живленням трамвайні і тролейбусні лінії на вулицях Городоцькій та Чернівецькій. Нову тролейбусну лінію до Львівського автобусного заводу заживили від тягової підстанції № 1 на Вітовського, 57.
До речі, на початку 1950-х років тягові підстанції № 1 і 2 пережили реконструкцію, яка була пов’язана із тим, що силову електромережу Львова було переведено із напруги 5,0 В на загальносоюзну стандартну напругу 6,3 кВ.

Із розбудовою тролейбусної мережі продовжувалося і будівництво нових тягових підстанцій «Львівелектротрансу» – у 1961 році було введено в дію нову тягову підстанцію № 4 на Личакові. Вона забезпечила живлення трамвайних ліній на вулиці Личаківській та Мечникова, а також новозбудованої тролейбусної лінії по вулиці Зеленій.
Паралельно із будівництвом тролейбусного депо на вулиці Тролейбусній було споруджено нову тягову підстанцію на території депо. Вона подала живлення тролейбусним лініям на вулиці Стрийській (від вулиці Чмоли до Наукової), а також на вулиці Рубчака та Володимира Великого.

Для розвантаження тягової підстанції № 1 в 1966 році було збудовано потужну трамвайно-тролейбусну тягову підстанцію на вулиці Івана Франка, 41. На неї було переключено живлення трамвайних ліній на вулицях Івана Франка, Підвальній, нижній частині Личаківської, а також тролейбусних ліній на вул. Шота Руставелі, нижній частині вулиці Зеленої, а також на вулиці Стуса. Живила вона і контактну мережу тролейбуса на проспектах Шевченка і Свободи, де пасажирський тролейбусний рух припинився у 1972 році. Це була перша тягова підстанція, де замість ртутних випрямлячів були використані напівпровідникові. Починаючи із 1970 року, на всіх старих тягових підстанціях ртутні випрямлячі були замінені на напівпровідникові на основі потужних кремнієвих діодів (ВАК-2000). Згодом почали використовуватися і тиристорні випрямлячі.
У кінці 1960-х років, із впровадженням напівпровідникових випрямлячів, в електропостачанні електротранспорту намітилася нова тенденція – замість потужних тягових підстанцій із великою кількістю кабельних ліній живлення (фідерів) почали будувати малопотужні тягові підстанції, наближені до трамвайних і тролейбусних ліній. Завдяки цьому зводилися втрати електроенергії у низьковольтних (600 В) кабельних мережах. Ця тенденція називається модним нині словом «децентралізація».

Отож, перша така «децентралізована» підстанція була побудована неподалік перехрестя вулиць Любінської і Виговського і отримала порядковий № 7. Вона забезпечила живлення тролейбусним лініям по вулиці Городоцькій (на той час – від Мотозаводу до Скнилова), а також на Любінській та Виговського – Патона.
Для продовження тролейбусної лінії до Старого Сихова в районі перехрестя вулиць Пасічної та Зеленої у 1970 році було споруджено тягову підстанцію № 8. Саме ця підстанція у 1997 році дала живлення тролейбусному маршруту № 24 який рушив по вулиці Сихівській до кінотеатру імені Довженка.

Дев’яту підстанцію збудували у 1972 році для живлення нової тролейбусної лінії по вулиці Володимира Великого. У 1979 році на ній було введено додаткове обладнання і від неї було прокладено кабельну лінію живлення нової тролейбусної лінії на вулиці Кульпарківській.
Історично десятою стала підстанція № 14, розташована в районі Скнилова. Живить вона тролейбусну мережу в кінці вулиці Городоцької, а також на вулиці Ряшівській. Введена в дію у 1976 році.

Тягова підстанція № 10 була введена в дію у 1978 році. Розташувалася вона на території Львівського трамвайно-тролейбусного заводу. Вона забезпечила струмом трамвайну лінію «шестірки» на вулиці Промисловій та Липинського (трамвай тоді доїздив до автовокзалу «Північний»), трамвайне депо та сам завод. Від неї також було подано живлення на тролейбусну лінію на вулиці Мазепи.
Тягова підстанція № 11 розмістилася на Замарстинові. Вона дала живлення на тролейбусну лінію маршруту № 13 на проспекті Чорновола (від Липинського) та вулиці Варшавській. Введена вона в дію також у 1978 році.

У зв’язку із зростанням інтенсивності тролейбусного руху по вулицям Антоновича і Героїв УПА, а також пожвавленням трамвайного руху в районі вокзалу, потужностей тягової підстанції № 3 почало бракувати. Саме тому в 1979 році було введено в дію тягову підстанцію № 15, окрім тролейбусних ліній вона подала напругу на трамвайну лінію на вулиці Бандери, розвантаживши додатково тягову підстанцію №1.
1980 року у зв’язку із будівництвом тролейбусної лінії до туб лікарні та міського цвинтаря (туди від Старого Сихова їздив тролейбус № 16) було введено в дію тягову підстанцію № 39 малої потужності.

Тягову підстанцію із № 13 ввели в дію в 1984 році. Її будівництво пов’язане із планами спорудження швидкісного трамвая у Львові із наземною гілкою в сторону Сихова. Після введення в експлуатацію вона живила частину трамвайної лінії маршруту № 4 (від площі Франка), а також тролейбусну мережу маршруту № 1 на Новому Львові. Зараз до неї підключено трамвайну лінію маршруту № 8 на вулиці Стуса.
Того ж 1984 року введено в дію тягову підстанцію № 21, яка живить тролейбусну мережу маршрутів № 3 і 5 в районі Автовокзалу. У 2012 році до неї також було підключено тролейбусну лінію по вулиці Науковій.

Одночасно із будівництвом лінії швидкісного трамвая по вулицям Сахарова та Княгині Ольги було збудовано дві тягові підстанції № 22 і 26, від яких було здійснено живлення цієї трамвайної лінії.
Одночасно із будівництвом нових тягових підстанцій, впроваджувалися нові технології керування ними. Якщо початково на тягових підстанціях постійно перебували чергові, то починаючи із кінця 1960-х років почали впроваджувати технології телекерування – тобто керування по лініям зв’язку. Ці технології дали можливість роботи тягових підстанцій в повністю автоматизованому режимі. У 1980-х роках для керування тяговими підстанціями почали запроваджувати ЕОМ. На початку 1990-х на дистанційне телекерування було переведено 12 тягових підстанцій, черговий персонал залишився лише на найбільш потужних. Диспетчерський пункт служби енергопостачання розташувався в приміщенні першої електростанції Львова – на Вітовського, 57. Тут було розташовано центральний пункт управління системою керування підстанціями ТМ-300.

Останньою за радянських часів в 1989 році було введено тягову підстанцію № 12 на Левандівці. Вона забезпечила електропостачання нової тролейбусної лінії шостого (нині 12-го) маршруту…
Глибока економічна криза початку 1990-х років зупинила як розвиток енергогосподарства, так і електротранспорту в цілому. За усі роки Незалежності в дію введено лише одну тягову підстанцію, яка має № 17. Живить вона лінію сихівського трамвая (від вул. Угорської), а також діючу тролейбусну лінію по проспекту Червоної Калини. Введена в дію у листопаді 2016 року.

Якщо для всіх решти тягових підстанцій будувалися спеціальні будівлі, то ця тягова підстанція – модульного типу, кожен агрегат якої є мобільною спорудою. Ця тягова підстанція – українського виробництва. Її виготовило запорізьке підприємство «Плутон».
У 2009 році Львів уклав кредитну угоду із Європейським банком реконструкції та розвитку на розвиток трамвайної інфраструктури. Одним із напрямків була модернізація тягових підстанцій. Стосувалася вона в першу чергу розподільчого обладнання і систем телекерування. Реконструкція всіх тягових підстанцій була завершена у 2016 році.

Проте в служби енергогосподарства є іще багато проблем. Однією із найбільш болючих є стан кабельної мережі довжина якої перевищує 250 км., адже значна частина кабелів, а особливо у центральній частині міста відпрацювала свій ресурс. Значну частину кабельних мереж пошкоджено і відключено – як через фізичне зношення струмопровідних жил та ізоляції кабелів, такі через пошкодження під час ремонтних робіт по водогону, каналізації та іншим інженерним мережам.
За орієнтовними оцінками, для того, щоб замінити кабелі, що відпрацювали свій ресурс потрібно не менше ніж 200 млн. грн.

Так само необхідно задуматися і над продовженням децентралізації енергопостачання. Адже зараз, наприклад, від тягової підстанції № 1 живиться вся трамвайна лінія по вулиці Шевченка. Довжина тільки підземних кабелів складає біля 5 км. Отож, при проектуванні реконструкцій вулиць обов’язково потрібно дбати про модернізацію електропостачання електротранспорту, адже вартість електричної енергії складає значну частину собівартості перевезень.
Антон ЛЯГУШКІН, Дмитро ЯНКІВСЬКИЙ та Олександр ЄРОХІН





